温州育英学校
为全面贯彻 “双减”政策,扎实推进“五育并举”工作,丰富校园文化生活,增强学生身体素质,2022年浙师附小温州育英学校秋季运动会于10月20日上午隆重拉开帷幕。
今年,温州育英学校首次运用AI米兰操场系统进行运动会比赛项目的测试及数据采集,将AI技术赋能运动会,有效减少了老师们的成绩统计时间,大大提高了整体运动会的工作效率。
在新的时代背景下,学校体育工作的开展更多的依赖于信息化、米兰化,这是校园体育的建设基础,也是未来校园体育的发展趋势。温州育英学校仅仅用时三天即快速建设好校园AI米兰操场,作为全温州首个采用AI视觉分析技术进行校园体育建设的学校,将AI技术赋能学校体育教学,是学校落实“以科技手段赋能体育教学”的重要举措。
(图为温州育英学校AI米兰操场摄像头装置)
AI米兰操场为校园运动会添活力
本届运动会上,育英学校100米跑项目运用米兰科技AI米兰操场系统进行比赛测试,通过摄像头实时采集学生运动数据、AI运动视觉算法高效计算分析,能够在参赛学生到达终点时实时播报学生比赛成绩。数字赋能运动会,让本届校园运动比赛更智能、更高效、更公平也更有看点!
(图为运动会现场采用AI米兰操场进行100米跑测试)
数字赋能运动会,工作效率大幅提升!
老师们普遍反映本届运动会上现场工作量相比往年大大减少,整体工作效率大幅提升,计时员老师们表示“手空闲了,没有以前那么凌乱了,完全运用AI技术进行运动会比赛效率非常高”。
一、人力成本节省10倍!
以100米跑项目测试为例,原先运动会跑步项目比赛及成绩统计工作需要计时员、过程记录员、裁判员和起跑工作人员等大约20人现场提供配合支撑,而现在,运用AI米兰操场进行比赛测试后,仅仅需要通过AI米兰操场视觉分析设备,2个工作人员,一个在起点维持秩序,另一个直接导出数据即可,人力成本节省10倍。
二、成绩统计效率提升三倍!
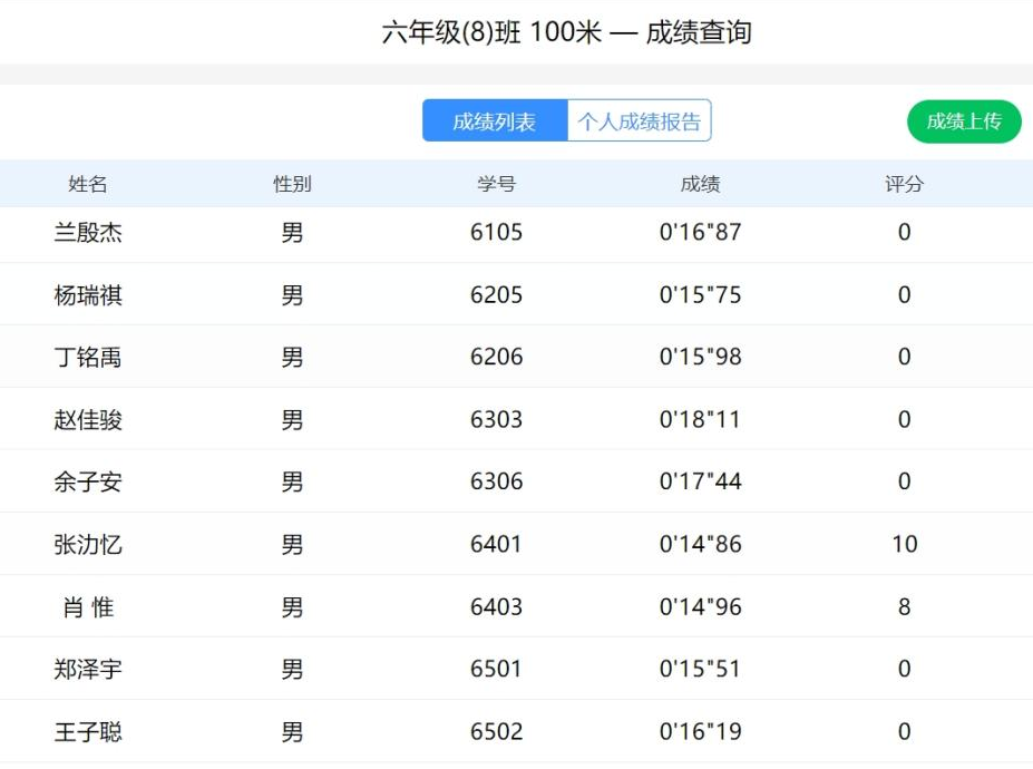
本届运动会100米项目总计参赛包括58名男生,62名女生,共计测试22组,现在,运用AI米兰操场系统进行运动会测试后,学生比赛数据能够实时生成,不需要老师纸笔记录。
(AI米兰操场系统-100米测试实时成绩查询界面)
通过大屏可以实时查看所有参赛学生的运动成绩,传统测试需要1.5小时才可完成成绩测试、录入、上传和排名,现在仅需一名监考老师,半个小时即可完成所有测试,整体测试效率提升3倍,这为学校运动会工作带来极大便利!
(AI米兰操场系统实时生成成绩报告)
三、成绩实时追溯,确保公平公正!
AI米兰操场能够在学生测试结束后实时生成个人成绩报告,对学生的姿态、肌群做全面分析,并根据学生100米跑期间的起跑反应速度、全程平均跑步速度等给到专业性的点评及针对性的指导建议,能够帮助学生明确自身薄弱环节及运动状态,在后期的体育训练中侧重性练习调整,通过每一次比赛及运动可以做到及时性的查漏补缺,夯实基础,稳步提高运动成绩。
(AI米兰操场-100米测试个人成绩报告)
100米跑期间,串道同学也可通过AI米兰操场视觉分析技术严格判断,对学生运动给予准确成绩播报,对于认为成绩不合理的学生,可以实时通过数据大屏进行视频溯源,核实成绩,真正提升了比赛的公平公正性。

(AI米兰操场-个人成绩报告)
米兰科技AI米兰操场通过物联网摄像头+人工智能视觉运动算法,将机器视觉与体育教育深度融合,实施操场智能化改造。作为数字化时代体教融合创新产物,AI米兰操场能够实现学校体育科学化训练、个性化教学、规模化测试及标准化考试,满足学校师生“教、学、练、测、考”多场景下常态化应用。
(米兰科技AI米兰操场示意图)
(米兰科技AI米兰体育教室示意图)
(米兰科技AI米兰体育考场示意图)
赛事有期,逐梦不止,此次运动会不仅展现了小小运动员们奋勇拼搏,敢于争先的风采,更展示了温州育英学校推行素质教育的累累硕果。
未来,米兰科技也将不断努力,坚持用科技为教育赋能,推动实现米兰校园体育与数字时代的深度融合,帮助学校以更信息化、智能化、数据化的模式更加高效地开展体育教学工作。


2022-10-22

一键分享


